EF-C腭式閘門

腭式閘門適用于堆比重≤2.5t/m3的各類礦石、煤炭、焦炭、灰渣、化工產品等散狀物料,廣泛應用于建材、冶金、化工、玻璃等行業的倉底卸料。
結構特點
腭式閘門采用優質碳鋼焊接成形,結構DuTe,運行靈活可靠,無卡阻現象。配用不同的傳動裝置能滿足不同的工況需要。電動腭式閘門采用帶有超載保護裝置的電動推桿,可避免燒壞電機,可以遠距離操縱或程序控制,往復行程可以精確調節位置自鎖。電液動腭式閘門采用電液推桿,全液壓傳動,推拉力均可實現無級調速。氣動腭式閘門采用氣動推桿,通過配件組合可以遠距離操縱或現場控制。SEF為手動,DEF為電動,Y為電液動,QEF為氣動。
性能參數
適用溫度 | 堆集比重 | 適用介質 |
≤300℃ | ≤2.5t/m3 | 晶體固體、煤炭、焦炭、灰渣、化工產品及各類礦石 |
傳動裝置參數:
規格 | 200 | 300~400 | 700~800 | 700~800 | 900~1000 |
閘門適合負荷(kg) | 89 | 185~240 | 1130~1720 | 1130~1720 | 2110~2950 |
電動推桿 | DTⅠA500M P:0.37kw | DTⅠA500M P:0.75kw | DTⅠA700M P:1.1kw | DTⅠA1000M P:1.1kw | DTⅠA1600M P:2.2kw |
電液動推桿 | DYT300 P:0.37kw | DYT450 P:0.55kw | DYT700 P:0.75kw | DYT1000 P:1.1kw | DYT1500 P:1.5kw |
氣動推桿 | 10A-5V CA 100B | 10A-5V CA 100B | 10A-5V CA 125B | 10A-5V CA 160B | 10A-5V CA 200B |
工作原理:
腭式閘門由本體、扇形閘板、軸、齒輪、密封件、執行機構等部件構成。手動或執行機構推動搖桿,使齒輪帶動扇形閘板沿軸心旋轉,使兩個扇形閘板向兩邊開啟,物料隨即下落,待接料裝置滿載后,再由執行機構帶動搖桿,使扇形閘板復位,關閉截斷下落的物料。
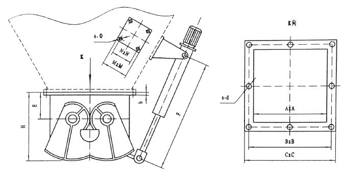
EF-C外形圖:

EF-C外形連接尺寸:
A×A | B×B | C×C | b | E | F | n-d | H | N | M | Φ |
200×200 | 245×245 | 280×280 | 6 | 90 | 350 | 8-Φ12 | 280 | 280 | 320 | 26 |
300×300 | 355×355 | 400×400 | 8 | 100 | 400 | 12-Φ12 | 300 | 300 | 320 | 26 |
400×400 | 455×455 | 500×500 | 8 | 120 | 460 | 16-Φ14 | 360 | 360 | 320 | 26 |
500×500 | 555×555 | 600×600 | 10 | 150 | 510 | 20-Φ14 | 480 | 480 | 320 | 26 |
600×600 | 655×655 | 700×700 | 10 | 180 | 560 | 20-Φ14 | 600 | 600 | 320 | 26 |
700×700 | 755×755 | 800×800 | 12 | 220 | 610 | 20-Φ14 | 660 | 660 | 360 | 32 |
800×800 | 855×855 | 900×900 | 12 | 240 | 660 | 24-Φ14 | 760 | 760 | 360 | 32 |
900×900 | 955×955 | 1000×1000 | 14 | 280 | 720 | 24-Φ14 | 900 | 900 | 360 | 32 |
1000×1000 | 1070×1070 | 1130×1130 | 14 | 350 | 880 | 28-Φ18 | 1040 | 1040 | 360 | 32 |
使用說明:
※安裝時請注意閘門本體上標明介質流向。兩法蘭連接時必需加密封墊片,然后均勻鎖緊螺栓。
※運行時請辨清扇形閘板開關方向,執行機構請正確接線。
※運行時請定期給各傳動部位加潤滑油。


